One design serves as a touch panel, while another acts as a barcode scanner.
Nintendo has designed several unconventional attachments for their Wii Remote controller and their patent filings were recently unveiled. Two attachments make use of the Wii Remote's infrared camera, which is normally used to detect the position of the sensor bar for position tracking.
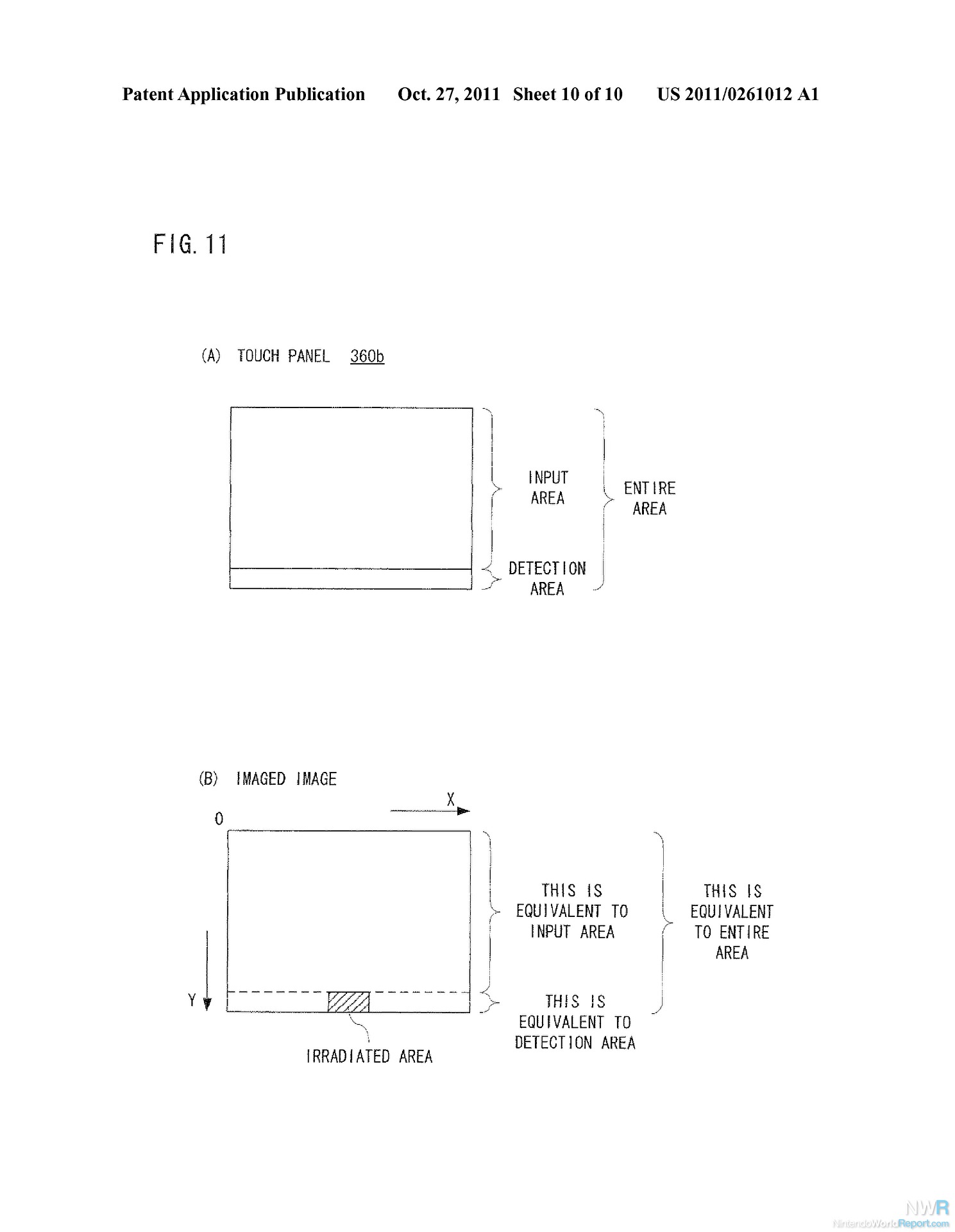
The first attachment allows the Remote to be used as a touch panel, which operates in a similar fashion to the original Microsoft Surface. The panel unit attaches to the front and top of the Remote. When a stylus or a finger touches the panel surface, an infrared light shines underneath the panel. This light illuminates the stylus or finger tip, and this light is reflected by a half-mirror into the Remote's infrared sensor and from this, the pointing position can be determined. By using a half-mirror, light from the Sensor Bar can still reach the sensor, and the Remote can still be used as a pointer.
The second invention enables the Remote to read data off of printed cards like a crude e-Reader or barcode scanner. This device attaches in front of the infrared sensor. The device has a slot where a plate can be inserted, which activates infrared lights. This plate includes a vertical slot, which allows light to shine only through a small area. A card with a printed dot pattern can be slid through the guide slot, and the pattern is read one column at a time. Removing the plate allows the Remote to be used as a pointer without removing the entire apparatus.
The third design attaches to the base of the Wii Remote and is a passive attachment. Various versions involve spherical or rounded pieces, which, when placed on a flat surface, allow the Remote to be used as a joystick. The base can be weighted to allow the Remote to stand on end.
Both patent applications were filed on June 23, 2010, and published on October 27, 2011. Kazuhiro Hosoi, Yasuyuki Shimohata, Toru Yamashita, Ryoji Kuroda are listed as the inventors of the devices. It is not clear whether Nintendo has any plans to release products based on either attachment. Many other Wii Remote attachment patents have gone unused. However, the infrared attachments share concepts with the upcoming Circle Pad Pro for 3DS, which is also an unconventional external attachment that sends signals via infrared.

